Advertisement Advertisement



Gli impianti a gas domestici (fino a 35 kW). Posa in opera e installazione (UNI 7129)

La posa in opera degli impianti a gas domestici, regolata in particolare dalla norma UNI 7129, deve seguire determinati criteri progettuali. Vediamoli insieme.

A cura di:

 

Gli impianti a gas domestici (fino a 35 kW). Posa in opera e installazione (UNI 7129)
Fonte: Eurotis Srl – www.eurotis.it

Indice degli argomenti:

La quasi totalità delle abitazioni civili del nostro Paese sono servite da un impianto a gas. In Italia le utenze servite dal gas metano sono 28,5 milioni circa (fonte CIG, 2015).

Da un antenato utilizzo rivolto all’illuminazione (a inizio ‘900), il gas è andato progressivamente occupando un ruolo di primo piano nel bilancio energetico domestico. Dopo essersi affermato come alimentazione delle cucine (sostituendo le bombole in GPL), da qualche decennio si è imposto come fonte di riscaldamento degli ambienti impianti termici – e la produzione di acqua calda sanitaria perché agevolato, rispetto ad altri combustibili, da minor costo, maggior efficienza delle reti di distribuzione, e dal minor impatto ambientale.

Vediamo, con l’ausilio della normativa vigente, regole e tecniche di installazione di un impianto domestico a gas (con potenza fino a 35 kW), dalla posa delle tubazioni, alle verifiche e collaudo.

Impianti domestici a gas: quadro normativo

Gli impianti domestici in Italia principalmente si distribuiscono due tipi di gas combustibili:

  • gas naturale (metano)
  • gpl (gas di petrolio liquefatto)

Il gas naturale (o metano) è la fonte di energia primaria più diffusa in Italia: dai giacimenti di estrazione e, attraverso una fitta rete di distribuzione, arriva direttamente nelle nostre case. Il gpl, viceversa, viene commercializzato in bombole e piccoli serbatoi.

Esempio di impianto domestico a gas

La legge (Dm 37/08) dispone che gli impianti siano realizzati a “regola d’arte”, secondo quanto indicato nelle norme CEI ed UNI (UNI CIG per il gas). In particolare, gli impianti a gas, per usi domestici e similari, devono essere realizzati nel rispetto delle seguenti norme tecniche:

  • UNI 7129:2015 – Impianti a gas per uso domestico e similare alimentati da rete di distribuzione – Progettazione, installazione e messa in servizio.
  • UNI 7131:2014 – Impianti a GPL per uso domestico e similare non alimentati da rete di distribuzione – Progettazione, installazione e messa in servizio.
  • UNI 10683:2012 – Generatori di calore alimentati a legna o altri biocombustibili solidi – Verifica, installazione, controllo e manutenzione.
  • UNI 10738:2012 – Impianti alimentati a gas per uso domestico, in esercizio. Linee guida per la verifica dell’idoneità al funzionamento in sicurezza.

Un impianto domestico è definito dalla norma UNI 7128 come un Impianto a gas in cui gli apparecchi installati hanno tutti singola portata termica non maggiore di 35 kW. Più apparecchi termici alimentati a gas, installati nello stesso locale o in locali direttamente comunicanti sono considerati come facenti parte di un unico impianto, di portata termica pari alla somma delle portate termiche dei singoli apparecchi.

UNI 7129: il “testo unico” di riferimento

La norma tecnica UNI 7129:2015, costituisce di fatto un “Testo Unico”, riferimento normativo per gli impianti domestici e similari. Oltre alle numerose novità, la UNI 7129 del 2015 recepisce e integra le più importanti norme pubblicate negli ultimi anni:

  • la UNI 11147 relativa all’installazione di sistemi di tubazioni con raccordi a pressare,
  • la UNI 11343 relativa all’installazione di sistemi di tubazioni multistrato,
  • la UNI 11340 relativa all’installazione di tubazioni in acciaio formabile e
  • la UNI 11071 relativa alle caldaie a condensazione e allo scarico delle condense.

Tutte queste norme sono state ritirate perché confluite all’interno della UNI 7129, attualmente l’unico riferimento normativo per la progettazione, installazione e messa in servizio degli impianti domestici interni alimentati a gas asserviti ad apparecchi utilizzatori aventi singola portata termica nominale massima inferiore a 35 kW.

UNI 7129: il “testo unico” di riferimento per gli impianti a gas domestici
Fonte: Eurotis Srl – www.eurotis.it

La UNI 7129 è strutturata in cinque parti:

  • UNI 7129-1: Impianto interno
  • UNI 7129-2: Installazione degli apparecchi di utilizzazione, ventilazione, e aerazione dei locali di installazione
  • UNI 71293: Sistemi di evacuazione dei prodotti della combustione.
  • UNI 7129-4: Messa in servizio degli apparecchi/impianti.
  • UNI 7129-5: Progettazione, installazione e messa in servizio Parte 5: Sistemi per lo scarico delle condense

La posa in opera dell’impianto a gas (UNI 7129)

Le tubazioni del gas devono essere posate preferibilmente all’esterno dell’edificio (per esempio cortili, pareti perimetrali, muri di cinta, ecc.) limitando quanto più possibile il percorso all’interno dei locali e garantendo comunque l’accessibilità per eventuali ispezioni e/o manutenzioni.

Le tubazioni, che costituiscono la parte fissa degli impianti, possono essere dei seguenti materiali:

  • acciaio (non legato o inossidabile)
  • rame
  • polietilene
  • multistrato metallo-plastico
  • acciaio inossidabile corrugato PLT-CSST

I tubi di polietilene sono da impiegare unicamente per le tubazioni interrate ed a condizione che il tubo non entri all’interno dell’edificio. È consentito il collegamento diretto fuori terra solo ai gruppi di misura esterni all’edificio installati in armadio o nicchia in conformità alla UNI 9036. I tubi di materiale multistrato metallo-plastico devono essere conformi alla UNI 11344 e non possono essere installati a vista. I tubi acciaio inossidabile corrugato PLT-CSST devono essere conformi alla UNI EN 15266 e dotati di idoneo rivestimento protettivo, di materiale conforme alla UNI EN 15266. Il rivestimento deve essere di colore giallo ed avere uno spessore minima di 0,5 mm.

Posa in opera impianto gas domestico

Non è consentito (in accordo alla norma UNI 7129):

  • il sottopasso degli edifici, ovvero la percorrenza delle tubazioni del gas sotto la superficie di basamento e/o all’interno di vespai e/o nelle intercapedini non accessibili
  • la posa delle tubazioni nei giunti di dilatazione e nei giunti sismici degli edifici
  • il contatto con leganti, malte o altri materiali che risultino corrosivi per le tubazioni
  • il contatto delle tubazioni gas con tubazioni dell’acqua; per i parallelismi e gli incroci il tubo del gas, se in posizione sottostante, deve essere protetto con una guaina impermeabile, in materiale polimerico. In alternativa possono essere utilizzati tubi in rame con rivestimento esterno conformi alla UNI 10823 o tubi in acciaio con rivestimento esterno conformi alla UNI 9099 o UNI 10191.
  • la collocazione delle tubazioni del gas nei camini e nelle canne fumarie, nei camini di esalazione, nelle asole tecniche utilizzate per l’intubamento, nei condotti per lo scarico dei prodotti della combustione, nei pozzi per immondizie, nei vani per ascensori, nei condotti di ventilazione; non è, inoltre, consentita la posa delle tubazioni del gas all’interno di strutture destinate a contenere servizi elettrici e telefonici (fatto salvo la posa in alloggiamenti tecnici appositi).
  • l’uso delle tubazioni del gas come dispersori, conduttori di terra o conduttori di protezione di impianti e apparecchiature elettriche, impianti telefonici compresi.

Le tubazioni  all’esterno dell’unita immobiliare – possono essere installate:

  • a vista
  • in canaletta
  • in asola di servizio
  • in cunicolo tecnico sotterraneo
  • in guaina
  • interrate
  • in manufatti orizzontali esterni a cielo aperto

Se invece poste all’interno dei locali, non possono essere interrate.

Installazione a vista

Le tubazioni a vista devono essere posate in modo stabile e sicuro. In particolare, esse devono essere adeguatamente ancorate, deve esserne garantita la dilatazione, devono essere installate in idonei locali o ambienti e, ave previsto o necessario, devono essere protette.

Le tubazioni installate a vista devono avere andamento rettilineo verticale ed orizzontale ed essere opportunamente ancorate.

Tubazioni a vista degli impianti a gas

Le tubazioni di acciaio non legato installate a vista devono essere adeguatamente protette contra la corrosione mediante appositi rivestimenti idonei, quali zincatura (UNI EN 10240) o verniciatura.

Le tubazioni metalliche (acciaio, rame), installate all’esterno (per esempio: cortili, pareti perimetrali, muri di cinta) ed a vista, devono essere collocate in posizione tale da essere protette da urti e danneggiamenti. In particolare, ove necessario – per esempio zone di transito o stazionamento di veicoli a motore, le tubazioni, devono essere protette con guaina di acciaio, di spessore non minore di 2 mm, per un’altezza non minore di 1,5 m. In alternativa alla guaina in acciaio, possono essere utilizzati elementi o manufatti aventi caratteristiche di resistenza meccaniche equivalenti.

Le tubazioni multistrato metallo-plastico e in polietilene non possono essere installate a vista né all’esterno, né all’interno.

Le tubazioni di materiale multistrato metallo-plastico, installate all’esterno, devono essere adeguatamente protette dall’azione dei raggi UV, da eventuali incendi e da surriscaldamenti; devono anche essere protette da danneggiamenti, come previsto per le tubazioni metalliche.

Le tubazioni corrugate formabili PLT-CSST in acciaio inossidabile non possono essere installate a vista all’esterno.

Installazione in alloggiamento tecnico

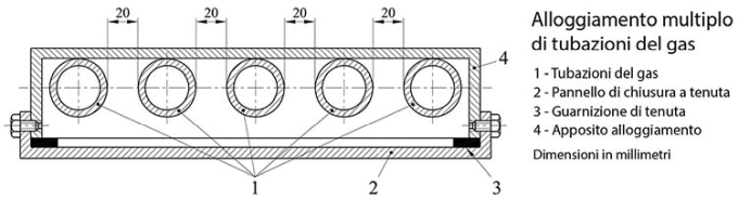
La posa delle tubazioni gas può avvenire all’interno di alloggiamenti tecnici, ovvero all’interno di manufatti edili aventi lo scopo di contenere e proteggere le tubazioni, consentendone l’ispezione, l’accesso e la manutenzione. In generale un alloggiamento tecnico è realizzato in modo che tra le pareti interne dell’alloggiamento e le pareti esterne della tubazione o tra pareti esterne di tubazioni diverse sia garantita una distanza tale da consentire eventuali manutenzioni o sostituzioni. All’interno di alloggiamenti tecnici è possibile, con le modalità indicate dalla norma UNI 7129, installare servizi diversi (ad esempio: gas e acqua).

Gli impianti a gas domestici (fino a 35 kW). Posa in opera e installazione (UNI 7129)

Un alloggiamento tecnico può distinguersi in una delle seguenti tipologie:

  • canaletta;
  • asola di servizio;
  • cunicolo tecnico sotterraneo;
  • guaina;
  • apposito alloggiamento (avente funzione di protezione antincendio, rispondente ai requisiti prescritti dalle regale tecniche di prevenzione incendi).

L’alloggiamento tecnico può avere sviluppo orizzontale, verticale o entrambi, a seconda della tipologia. È consentita la posa della tubazione gas all’interno di alloggiamenti tecnici purché realizzati e posti in opera nel rispetto della presente norma e comunque in modo tale da evitare ii ristagno di liquidi (acqua piovana, di irrigazione, ecc.).

Installazione in canaletta

Nel caso di tubazioni metalliche è consentita la posa delle tubazioni del gas, sulla parete perimetrale esterna dell’edificio, all’interno di una canaletta di protezione. La canaletta può essere costituita da materiale metallico o plastico. La superficie di chiusura deve essere non a tenuta di gas (per esempio provvista di griglia o di aperture nella parte inferiore e superiore) e rimovibile, al fine di permettere ispezioni e/o manutenzioni. Inoltre, la canaletta deve avere riferimenti esterni che segnalano la presenza di tubazioni del gas al suo interno.

Posa delle tubazioni del gas con canaletta di protezione

Nel caso di tubazioni multistrato metallo-plastiche, è consentita la posa delle tubazioni del gas in canaletta sulla parete perimetrale esterna dell’edificio, purché siano sempre adeguatamente protette lungo tutto il loro percorso esterno dall’azione dei raggi UV (per esempio canaletta chiusa oppure canaletta grigliata più guaina, figure 3b e 3c) e da danneggiamenti meccanici (con particolare attenzione alle zone soggette a transito o manovra di mezzi), ove necessario.

La canaletta deve essere realizzata con materiali resistenti agli agenti atmosferici. La superficie di chiusura, anche se grigliata, deve essere di tipo rimovibile per permettere, all’occorrenza, ispezioni e manutenzioni.

La canaletta può essere del tipo:

  • ancorata (esterna al muro)
  • a nicchia (ricavata nell’estradosso della parete esterna)

In quest’ultimo caso le pareti, che definiscono l’alloggiamento, devono essere rese stagne verso l’interno della parete nella quale è ricavato. Tale operazione può essere fatta anche mediante idonea rinzaffatura di malta di cementa.

Posa delle tubazioni del gas con canaletta ancorata o in nicchia

È ammessa l’installazione di una tubazione in canaletta chiusa se provvista alle estremità di opportune aperture di aerazione comunicanti direttamente con l’esterno dell’edificio o con locali aerati o aerabili. La canaletta deve essere realizzata ed installata in modo da poter permettere all’occorrenza eventuali ispezioni e manutenzioni.

Installazione in asola di servizio

L’asola di servizio può essere ad uso esclusivo della tubazione gas oppure ad uso promiscuo (per esempio: tubazioni gas e tubazioni acqua). Può essere esterna o interna all’edificio. L’uso promiscuo non è ammesso con sistemi di evacuazione dei prodotti della combustione.

Posa delle tubazioni del gas in asola di servizio

L’asola di servizio prevede l’utilizzo di un alloggiamento tecnico avente le seguenti caratteristiche:

  • abbia le pareti impermeabili al gas; ai fini della presente applicazione oltre a strutture metalliche, si ritengono idonee: strutture edilizie intonacate, muri di calcestruzzo armato, manufatti di cementa vibro compresso e simili;
  • sia permanentemente aerate con aperture alle estremità, di sezione equivalente alla sezione dell’alloggiamento; l’apertura di aerazione alla quota più bassa deve essere provvista di rete tagliafiamma;
  • abbia una resistenza al fuoco non minore di quella della struttura nella quale e inserita ed in ogni caso non minore di El 30;
  • sia dotata di sportello di ispezione ad ogni piano, nel caso di sviluppo verticale; non comprometta l’eventuale compartimentazione antincendio;
  • nel caso di alloggiamento tecnico in cui sono alloggiate più tubazioni del gas deve essere prevista una distanza minima tra le stesse non minore di 20 mm;
  • le dimensioni interne dell’alloggiamento devono consentire gli interventi di manutenzione.

È consentita la posa delle tubazioni gas in asole di servizio contenenti cavi elettrici, cavi di antenne televisive, condotte dell’acqua e altri servizi in generale In questi casi le tubazioni del gas devono essere inserite in guaine aerate e gli eventuali servizi elettrici e/o elettronici devono essere sempre inseriti in guaine. Le guaine possono essere di materiale metallico o polimerico.

Installazione in cunicolo tecnico sotterraneo

All’esterno degli edifici, è possibile posare la tubazione del gas all’interno di cunicoli tecnici sotterranei. Tali cunicoli hanno sviluppo prevalentemente orizzontale ed hanno lo scopo di contenere tubazioni gas e altri servizi, garantendo ad essi una adeguata protezione meccanica. I cunicoli tecnici sotterranei devono essere realizzati tenendo conto delle eventuali sollecitazioni a cui le tubazioni del gas potrebbero essere sottoposte, incluso l’eventuale stazionamento o transito di veicoli.

Il cunicolo tecnico sotterraneo può essere realizzato mediante un manufatto edile – per esempio di laterizio, di conglomerato cementizio, di metallo – o altri sistemi di equivalente efficacia.

Impianto a gas domestico, Installazione in cunicolo tecnico sotterraneo

All’interno di un cunicolo tecnico sotterraneo, è possibile posare le tubazioni gas anche in presenza di tubazioni dell’acqua, cavi elettrici o telefonici; in tale caso, sia le tubazioni del gas che gli eventuali servizi elettrici e/o elettronici devono essere sempre inseriti in guaine aerate. Le guaine possono essere di materiale metallico o polimerico.

Installazioni sotto traccia o in guaina

In alcune circostanze (attraversamento di locali con pericolo di incendio, attraversamento di muri o solai, installazioni in manufatti orizzontali a cielo libero, posa interrata con profondità di interramento inferiore a 600 mm), per la posa delle tubazioni gas può essere suggerito l’utilizzo di una guaina, per:

  • garantire la protezione meccanica della tubazione gas;
  • assicurare l’aerazione della tubazione, consentendo l’isolamento della tubazione gas rispetto ad altri servizi o ad ambienti non compatibili;
  • conferire resistenza al fuoco.

Le tubazioni sotto traccia possono essere installate nelle strutture in muratura (nei pavimenti, nelle pareti perimetrali, nelle tramezze fisse, nei solai, ecc.) purché siano posate con andamento rettilineo verticale ed orizzontale e siano rispettate le condizioni di seguito riportate.

Le tubazioni inserite sotto traccia devono essere posate, parallele agli spigoli, ad una distanza non maggiore di 200 mm dagli spigoli stessi (vedere figura). I tratti terminali per l’allacciamento degli apparecchi (per esempio: scaldaacqua, caldaia) devono avere la minore lunghezza possibile al di fuori dei 200 mm dagli spigoli. Nella posa sotto pavimento, le luci delle porte non costituiscono discontinuità della parete.

Posa Tubazioni del gas sotto traccia e in guaina

Nel caso di posa sottotraccia entro la fascia di 200 mm, ubicata nella zona più bassa di una parete, e preferibile collocare la tubazione nella meta superiore di tale fascia, per evitare i possibili danneggiamenti causati da interventi successivi, quali per esempio la posa di battiscopa, ecc.

L’intera tubazione sotto traccia deve essere annegata direttamente in malta di cementa, costituita da una miscela composta da una parte di cemento e tre di sabbia.

I rubinetti devono essere a vista o inseriti in apposite scatole ispezionabili a tenuta nella parte murata e con coperchio non a tenuta verso l’ambiente; i rubinetti di tubazioni multistrato metalloplastiche possono essere inseriti solo all’interno delle scatole ispezionabili.

Non è consentita la posa delle tubazioni sotto traccia, compreso sotto pavimento, nei locali costituenti le parti comuni dell’edificio. Non è consentita la posa sottotraccia della tubazione in diagonale ed obliqua.

Installazione di tubazioni interrate

Le tubazioni interrate devono avere sul loro percorso riferimenti esterni in numero sufficiente a consentirne la completa individuazione quali, per esempio, targhe da fissare a muro o sul terreno atte ad individuare l’asse della tubazione.

Le tubazioni devono essere posate su un letto di sabbia o di materiale inerte vagliato e stabilizzato (granulometria non maggiore di 6 mm, nel caso di tubazioni metalliche, di polietilene o corrugate formabili PLT-CSST; granulometria non maggiore di 2,5 mm, nel caso di tubazioni multistrato metallo-plastico), di spessore non minore di 100 mm e ricoperte, per altri 100 mm, con materiale dello stesso tipo. Il riempimento successivo dello scavo può essere completato, per esempio, con materiale di risulta.

E’ inoltre necessario prevedere, sopra le tubazioni e ad una quota non minore di 300 mm dalle tubazioni stesse, la posa di nastro di segnalazione di colore giallo. Nel caso in cui la tubazione fuoriesca dal terreno all’esterno dell’edificio, subito dopo l’uscita fuori terra, la tubazione deve essere segnalata con il medesimo colore per un tratto non minore di 300 mm o altro riferimento permanente (tuba con rivestimento di colore giallo, etichetta con scritta “GAS”, ecc.). Tale disposizione può non essere applicata per il tratto di tubazione di collegamento al gruppo di misura. Nel caso di tubazioni multistrato metallo-plastico, subito dopo l’uscita fuori terra, l’alloggiamento tecnico, in cui è posato il tubo, deve essere segnalato con il medesimo colore per almeno 300 mm o altro riferimento permanente.

Gas domestico, Installazione di tubazioni interrate

La profondità d’interramento della tubazione deve essere almeno pari a 600 mm. Nei casi in cui non si possano rispettare le condizioni di posa di descritte, occorre prevedere una adeguata protezione meccanica della tubazione del gas (tubo avvolto da guaina metallica, oppure inserito in apposita canalizzazione sotterranea).

Nel caso di tubazioni interrate orizzontali parallele ai muri perimetrali esterni degli edifici, la distanza tra i tubi e il muro non deve essere inferiore a 1 metro. Distanze minori sono ammesse purché la tubazione sia protetta da una guaina per tutto il tratto necessario.

Tutti i tratti interrati di tubazioni di acciaio devono essere provvisti di rivestimento protettivo contro la corrosione, realizzato secondo la UNI ISO 5256 o UNI 9099 o UNI 10191.

Tutti i tratti interrati di tubazioni di rame devono essere conformi alla UNI 10823, cioè dotati di un rivestimento protettivo. I tratti di tubazione privi del rivestimento protettivo contro la corrosione, posti in corrispondenza di giunzioni, quali curve, pezzi speciali, ecc., devono essere accuratamente fasciati con bende o nastri dichiarati idonei allo scopo dal produttore.

Tutti i tratti interrati di tubazioni per sistema PLT-CSST e di tubazioni multistrato devono essere inseriti all’interno di una guaina; lungo tutto il percorso ed all’interno della guaina, il rivestimento dei tubi deve risultare integro. Se la tubazione per sistema PLT-CSST presenta delle giunzioni, il raccordo deve essere ricoperto con nastro protettivo, fornito dal fabbricante del sistema ed, eventualmente, posto all’interno di un pozzetto non a tenuta di gas, o altra struttura equivalente, fornita dal fabbricante del sistema stesso.

Tutti i tratti interrati di tubazioni metalliche con lunghezza maggiore di 3000 mm devono essere dotati di un giunto isolante giunto dielettrico, conforme alle UNI 10284 e UNI 10285, posato in prossimità della fuoriuscita dal terreno sul lato delle utenze, ad un’altezza compresa tra 300 mm e 500 mm dal piano di calpestio/campagna; i tratti interrati di tubi per sistema PLT-CSST devono sempre essere isolati mediante giunti isolanti, indipendentemente dalla loro lunghezza.

Installazione di tubazioni in manufatti orizzontali esterni a cielo aperto

I manufatti orizzontali esterni a cielo aperto possono essere:

  • marciapiedi;
  • cortili pavimentati soggetti al transito di persone e/o autoveicoli.

Sono equiparati ai manufatti orizzontali esterni a cielo aperto quei manufatti orizzontali esterni la cui proiezione verticale sia aperta almeno da un lato per un’altezza almeno pari a 2,2 m (figura 10).

Gas domestico: Installazione di tubazioni in manufatti orizzontali esterni a cielo aperto

Sono equiparati, inoltre, a tali manufatti i giardini esterni nel caso in cui non si riesca a rispettare la profondità di interramento di 600 mm.

Le tubazioni inserite o annegate in manufatti orizzontali esterni a cielo aperto possono essere posizionate:

  • in guaina
  • in cunicolo tecnico sotterraneo
  • in canaletta incassata

La distanza tra la superficie esterna delle tubazioni e le superfici interne degli alloggiamenti tecnici, con esclusione del piano di contatto, deve essere non minore di 30 mm; spazi minori possono essere previsti solo in presenza di valutazione dimensionale di progetto.

Gli alloggiamenti tecnici sopra elencati devono essere realizzati tenendo conto delle eventuali sollecitazioni a cui le tubazioni del gas potrebbero essere sottoposte, incluso l’eventuale stazionamento o transito di veicoli. In relazione alle eventuali sollecitazioni prevedibili si può ricorrere, per esempio, all’utilizzo di una guaina di acciaio di spessore non minore di 2 mm oppure ad una struttura edile come un cunicolo tecnico sotterraneo o una canaletta incassata nel manufatto orizzontale a cielo scoperto.

In prossimità dell’entrata o dell’uscita dal terreno, deve essere previsto un sistema di sfiato dell’alloggiamento o della guaina, al fine di evitare accumuli di gas, come per esempio un pozzetto di ispezione ad eccezione della canaletta grigliata in superficie.

Attraversamento di muri e solai

Nell’attraversamento di muri perimetrali esterni (mattoni pieni, mattoni forati e pannelli prefabbricati), la tubazione del gas non deve presentare giunzioni – ad eccezione del raccordo di ingresso e di uscita – e va protetto con guaina aerata passante impermeabile al gas. La guaina può essere indifferentemente metallica o di materiale polimerico e deve avere diametro interno non minore di 10 mm rispetto al diametro esterno della tubazione.

Impianto gas domestico, Attraversamento di muri e solai

Nell’attraversamento di solai il tubo deve essere infilato in una guaina sporgente almeno 20 mm dal filo piano pavimento e la sezione libera fra la tubazione gas e la guaina deve essere sigillata nella parte superiore con materiali adatti per esempio silicone, cemento plastico e simili.

Nel caso di tubazioni multistrato metallo-plastico, i tubi guaina devono essere costituiti da materiali aventi classe A1 di reazione al fuoco secondo UNI EN 13501-1, idonei alla posa entro murature. Le guaine non devono presentare giunzioni di alcun tipo. In ogni caso, nella posa delle tubazioni non è consentito l’uso di leganti, malte o materiali similari che possono risultare corrosivi per la tubazione.

Collaudo e controllo periodico dell’impianto a gas

Il collaudo dell’impianto a gas interno si effettua in due fasi consecutive, attraverso:

  1. una verifica ad alta pressione,
  2. una verifica di tenuta, tesa a constatare l’assenza di dispersioni di gas.

La verifica ad alta pressione è tesa a constatare la corretta esecuzione dell’impianto e la sua idoneità meccanica. Tale verifica, precede quella di tenuta ed è necessaria solo nei casi previsti al punto nel caso di utilizzo di tubazioni multistrato metallo-plastiche e di raccordi a pressare. In questo caso, prima della verifica di tenuta è necessario effettuare una verifica ad alta pressione con valori definiti dal fabbricante del sistema ed indicati nel libretto di istruzioni ed avvertenze.

Collaudo e verifica dell'impianto gas domestico

Nel caso in cui il fabbricante dichiari non necessaria la prova ad alta pressione, deve documentare l’utilizzo di un accorgimento tecnico specifico che permetta di individuare già mediante la verifica di tenuta, eventuali raccordi non pressati. In assenza di tali indicazioni, la prova deve essere eseguita ad una pressione minima di 5 bar.

La verifica di tenuta deve essere effettuata in occasione di: nuova realizzazione o rifacimenti totali di impianti interni (punto 5.3); rifacimenti parziali o manutenzione straordinaria di impianti interni (punto 5.4); sostituzione di apparecchi (punto 5.4).

La verifica di tenuta può essere effettuata mediante un manometro a colonna d’acqua acqua o apparecchio equivalente di sensibilità minima di 0, 1 mbar (1 mm H20). Per la stessa verifica è possibile utilizzare strumenti aventi le caratteristiche minime riportate nel prospetto 10. In ogni caso gli strumenti devono essere mantenuti in stato di efficienza e sottoposti alla manutenzione periodica come previsto dal fabbricante.

Il controllo periodico dell’impianto prevede le seguenti fasi:

1. verifica di tenuta dell’impianto interno

2. verifica della manovrabilità dei rubinetti

3. verifica dello stato di conservazione dei tubi flessibili di collegamento agli apparecchi.

La verifica di tenuta deve essere eseguita nei tempi e con le modalità previste dalla UNI 11137.

La verifica della manovrabilità dei rubinetti prevede che, se un rubinetto non è facilmente manovrabile, nel senso che sia anomalo lo sforzo necessario per effettuare le manovre di apertura e di chiusura, occorre sostituirlo. La sostituzione di un rubinetto comporta la ripetizione della verifica di tenuta dell’impianto.

La verifica dello stato di conservazione di un tubo flessibile non metallico consiste nel controllare che:

  • non siano stati superati i termini di scadenza riportati sul tuba stesso o le indicazioni sulla durabilità in conformità alle norme specifiche di prodotto;
  • non appaiano screpolature, tagli ed abrasioni né tracce di bruciature o di surriscaldamento su tutta la superficie del tubo;
  • flettendo il tubo, non si evidenzino screpolature.

La verifica dello stato di conservazione di tubi flessibili di acciaio inossidabile a parete continua, o tubi metallici rigidi, consiste nel controllo visivo della superficie del tubo e dei raccordi.

Documentazioni, certificati e responsabilità

Per la certificazione degli impianti, il DM 37/08 prevede che solo le imprese abilitate possano rilasciare la relativa Dichiarazione di Conformità, redatta secondo il modello all’allegato 1 del D.M. 37/08 modificato dal D.M. del 19 maggio 2010.

Impianto gaso domestico, documentazioni, certificati e responsabilità

A fine lavoro, come richiesto dalla Legge 46/90, l’installatore deve rilasciare la Dichiarazione di Conformità dell’impianto alla regola dell’arte in quattro copie sottoscritte dal titolare dell’impresa installatrice e dal responsabile tecnico e consegnate al committente, all’installatore, al comune ed alla Camera di Commercio.

La dichiarazione di conformità è obbligatoria per tutti i camini e per i relativi generatori collegati: nel caso in cui sia prevista l’installazione del generatore (stufa a legna, caldaia, stufa a pellet) in un momento successivo alla posa del camino, il montatore del solo camino deve redigere la dichiarazione di conformità parziale.

Il committente ha l’obbligo di verifica dei requisiti professionali richiesti, dal medesimo Decreto Ministeriale, alle imprese affidatarie dei lavori/installatrici (art. 8 del DM 37/08).

Il progettista ha l’obbligo di redigere il progetto (si veda dopo) ed eventualmente, se incaricato, verificare la corretta esecuzione dei lavori in conformità al progetto stesso.

L’impresa ha l’obbligo di realizzare i lavori a regola d’arte rispettando le norme vigenti in materia di impianti (DM 37/08) e nel rispetto delle normative in materia di sicurezza. Al termine dei lavori l’impresa dovrà rilasciare la dichiarazione di conformità come disposto dal DM. 37/08, art. 7.


Per approfondire:

Consiglia questo approfondimento ai tuoi amici

Commenta questo approfondimento